電池裝車頂 福特申報汽車充電寶專利
2023-06-13 11:06:50近日,福特汽車在美國專利和商標局遞交了一項電動汽車外置電池的專利,給電動汽車增添額外的電量,能說是個大號的汽車充電寶。

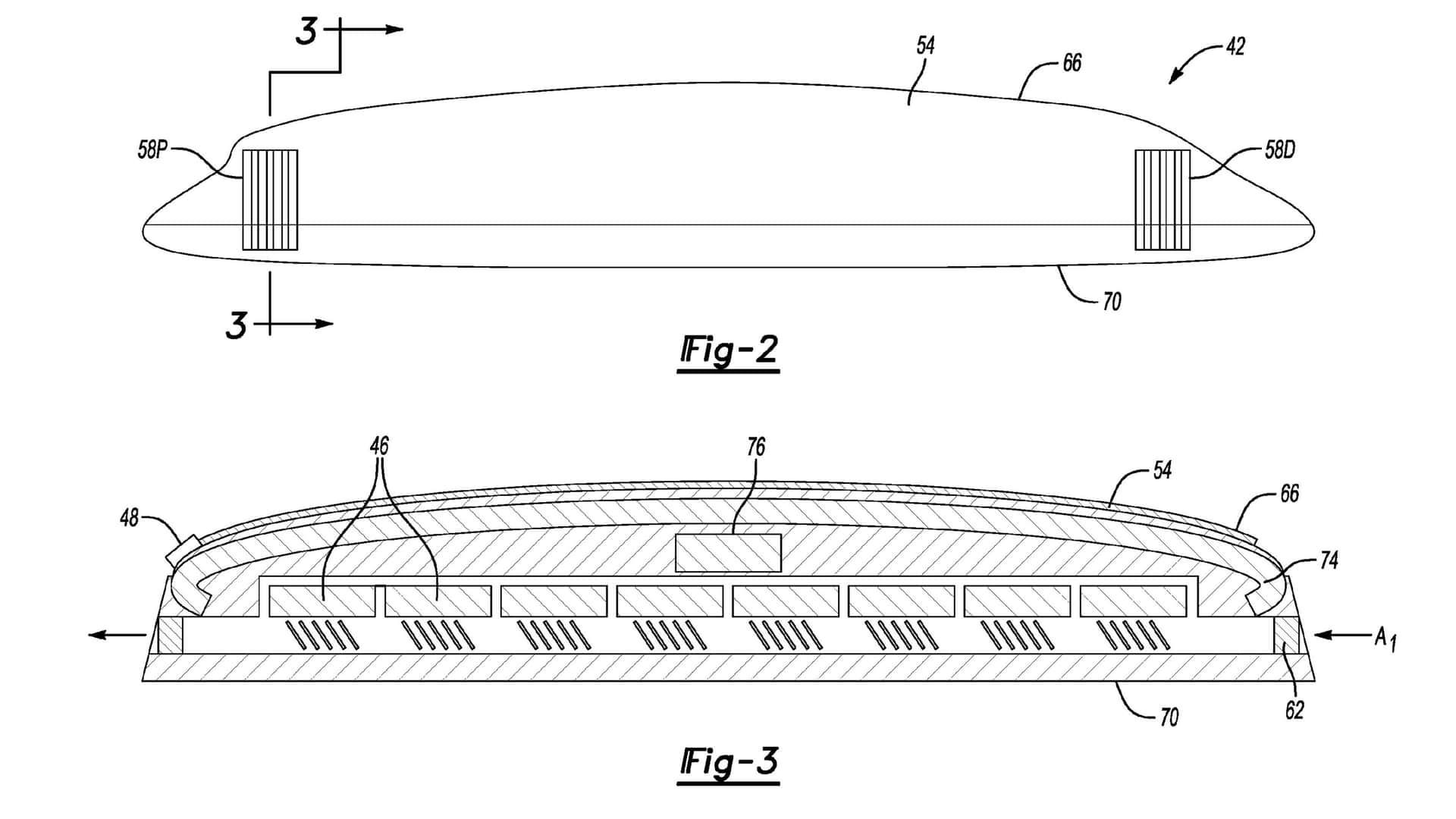
該專利文件表明,這款可供使用電池能由車主另行加裝和拆除,具備很大的靈活性。電芯被加裝在一種類型于車頂旅行箱的外殼中,那個外殼由一種蓋子與內襯泡沫的紙盒共同組成,外殼兩邊存有空氣地下通道,用來加熱電池,除此之外還具備防塵、保溫、密封的特點。

那塊電池具備兩條振動線,能插在汽車電池口上為汽車電池。除此之外,它還涵蓋有一種掌控模塊,能與車輛的通信模塊展開無線連接,便利車主在車內對電池展開有關掌控。
但問題來了,動力電池是較為重的,用戶他們加裝/拆除可能將是一種問題,除此之外把太幾塊電池裝在車頂,車輛的戰略重點提升,可能將會增添額外的風險。







