一文了解汽車底盤基礎知識解析
2024-08-23 15:08:48汽車的心臟——發動機,作為動力的源泉,其使命在于燃燒燃料,釋放出推動車輛前行的能量。而底盤,則是這一力量的執行者,它不僅接收發動機的強大動力,還巧妙地讓汽車根據駕駛者的意愿,在道路上靈活穿梭。環保橡膠密封圈
底盤的復雜精妙,在于它由四大核心系統緊密協作構成:傳動系統、行駛系統、轉向系統與制動系統,每一部分都承擔著不可或缺的角色。密封橡膠硅膠材料是什么
傳動系統:動力的橋梁

▲機械式傳動系統的組成及布置形式
傳動系統,如同精密的齒輪組合,負責將發動機的動力高效傳遞到車輪上。它包括離合器、變速器、傳動軸、主減速器、差速器及半軸等關鍵部件。連接器硅橡膠零配件定制廠家
這些部件各司其職,共同實現了汽車的減速增矩、變速、倒車及動力中斷等功能,更讓車輪擁有了適應不同路況的差速能力。汽車橡膠硅膠配件名稱圖解
傳動系統根據不同的結構和動力傳遞方式,可細分為機械式、液力式、電力式等多種類型,而前置后驅、前置前驅、后置后驅等不同的布置方案,則滿足了不同車型和用途的需求。橡膠密封圈生產廠家

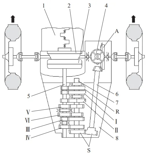
▲發動機前置輪驅動機械式傳動系統布置
1—發動機;2—從動盤;3—離合器模塊;4—差速器;5—驅動軸(主軸);6—帶邊軸的主動齒輪;7—從動軸;8—手動變速器;Ⅰ—第1擋;Ⅱ—第2擋;Ⅲ—第3擋;Ⅳ—第4擋;Ⅴ—第5擋;Ⅵ—第6擋;R—倒車擋;A—主減速器;S—中間傳動的圓柱齒輪

▲液力機械式傳動系統

▲靜液式傳動系統

▲電力式傳動系統

▲前置后驅動(FR):發動機前置后輪驅動方案;主要用于貨車、部分客車和部分高級轎車。

▲前置前驅動(FF):主要用于轎車和微型、輕型客車等。

▲后置后驅動(RR):特點是發動機布置在后軸之后,用后輪驅動;主要用于大中型客車和少數跑車。

▲中置后驅動(MR):特點是發動機布置在前后軸之間,用后輪驅動;主要用于跑車和少數大、中型客車。

▲全輪驅動(AWD):特點是傳動系統增加了分動器,動力可以同時傳給前后輪;主要用于越野車及重型貨車。廣東新能源產業橡膠硅膠配件定制生產廠家
行駛系統:穩健的支撐
行駛系統,是汽車的骨架與紐帶,它由車架、車橋、車輪和懸架等構成。這一系統不僅支撐著汽車的全部重量,還通過車輪與路面的緊密接觸,確保了車輛能夠平穩行駛。密封圈橡膠硅膠材料密度

▲行駛系統的組成與受力
行駛系統巧妙地緩沖了路面的沖擊與振動,提升了乘坐的舒適度,同時與轉向系統協同工作,確保了汽車行駛方向的精確控制。油封橡膠密封墊圈
轉向系統:方向的指引
轉向系統,是駕駛者與汽車之間的默契橋梁。它由轉向操縱機構、轉向器和轉向傳動機構三部分組成,部分車型還配備了轉向助力裝置,讓駕駛變得更加輕松。汽車連接器硅橡膠密封接插件

▲機械式轉向系統

▲動力轉向系統
轉向系統的主要任務,就是根據駕駛者的意圖,引導汽車沿著既定的方向行駛,并在遇到側向干擾時,及時恢復汽車的穩定行駛狀態。連接器密封圈圖片
制動系統:安全的守護者
制動系統,是汽車安全的最后一道防線。它由前輪制動器、后輪制動器以及控制裝置、傳動裝置和供能裝置等組成,分為行車制動和駐車制動兩大類。

▲汽車制動系統簡單的工作原理
無論是讓行駛中的汽車減速停車,還是確保車輛駐留原地不動,制動系統都發揮著至關重要的作用。通過人力、發動機動力或兩者結合的方式,制動系統實現了對汽車速度的有效控制,保障了行車安全。新能源電池橡膠密封圖片價格
特別聲明:內容來源 汽車電子學堂 僅供參考,以傳遞更多信息而不是盈利。版權屬于原作者。如有侵權,請聯系刪除。







